Skip to main content Skip to footer

SENSOR MOUNTING BLOCK

Image of Sensor Mounting Block Image of Draw-Sensor Mounting Block

Attach sensors to extrusion profiles, fully adjustable, Black, fiberglass reinforced nylon

SELECT PRODUCT VARIATION BELOW TO ADD TO RFQ

Product Variations

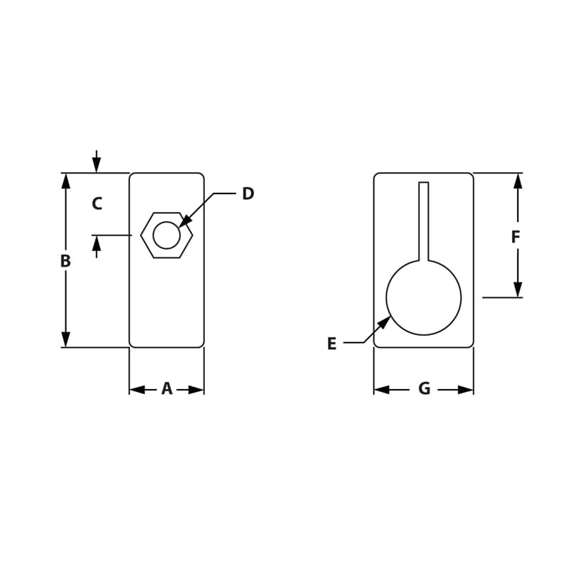
Item # Series A B C D E F G List Price Qty. Add to RFQ
655764

10/15
.472"
1.102"
.394"
.169"
.256"
.787"
.630"
3.263